Sie haben Ihr Passwort vergessen?Sollten Sie trotz korrekter e-Mail-Adresse und bereits bestehender Registrierung weiterhin Probleme mit dem Login haben und auch keine "Passwort vergessen"-e-Mail erhalten, so wenden Sie sich bitte per e-Mail an uns!
| Gewicht: | 900 kg (1 Stk x 900 kg) |
|---|---|
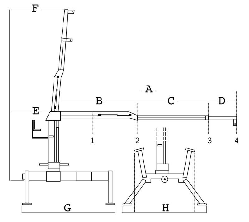
| HUBLASTDIAGRAMM | : |
| 1 | 3300kg (1m) |
| 2 | 2000kg (2,2m) |
| 3 | 900kg (4m) |
| 4 | 600kg (5m) |
| ABMESSUNGEN | : |
| A | 5000mm |
| B | 2200mm |
| C | 1800mm |
| D | 1000mm |
| E | 2200mm |
| F | 7500mm |
| G | 2000-3000mm |
| H | 1650-2950mm |
| Hersteller | LO-MA |
| Sie müssen angemeldet sein, um einen Kommentar schreiben zu können. |

